欢迎光临台州钢凯机械科技有限公司官网!我公司专业生产牙嵌式差速器和行星减速机齿轮、法兰等产品!
值得信赖的牙嵌式差速器/齿轮供应商专业生产圆柱斜齿轮、直齿轮、行星齿轮、减速机齿轮、电机齿轮轴
全国咨询热线:13566677627

长春介绍一下三级以上行星齿轮减速机

 发布人:钢凯机械 来源:行星齿轮减速机齿轮厂家  时间:2020-02-22 08:37:04 点击:49461次

  行星齿轮减速机

1.jpg

  应用于在国内机械普遍使用,现有的此类行星齿轮减速机一般包括安装在卷筒内的输入装置、输出装置以及两者之间设置的多级太阳轮、行星轮、行星架、齿圈构成的行星轮系传动机构,

2.jpg

  现有技术中的行星架为一端端面固定有行星轮轴的圆环片状结构,行星轮轴一端悬设在行星架上,另一端通过轴承转动装配于行星轮上,该悬臂结构的行星轮轴使其在高速转动不够平稳易发生径向跳动导致噪音较大。

3.jpg

  三级以上行星齿轮减速机

4.jpg

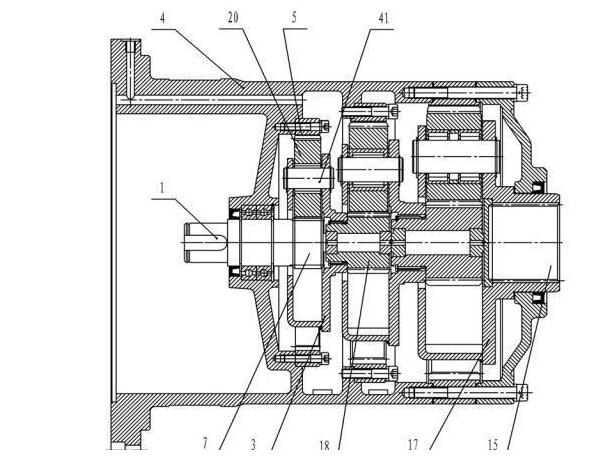
  包括壳体 4、同轴转动装配于壳体 4 前后位置的输入装置 1、输出装置 15,以及壳体 4 内部设置于输入、输出装置之间的三级行星轮系传动机构,输入装置1为输入轴,输出装置15为内花键套。各级行星轮系传动机构均由太阳轮、与壳体 4 固定的内齿圈、啮合装配于太阳轮与内齿圈之间的三个行星轮、转动装配设置所述各行星轮的行星架构成,第一级太阳轮 7 与输入装置 1一体设置,除第三级行星架 17 上一体设置输出装置 15,其余的一、二级行星轮轮系传动机构中的行星架均与下级的太阳轮通过花键同轴传动配合。

5.jpg

  由于各级行星轮系传动机构的结构相同,以第一级行星轮系传动机构为例进行介绍,第一级行星架 3 是由中空的轮架外壳 40 和固定于轮架外壳 40中的沿圆周均匀分布的三个行星轮轴 41 构成,所述轮架外壳 40 包括环筒状的周壁 401 和固连于周壁 401 前后端面的前端壁 402、后端壁 403,前端壁 402 开设有供输入装置插配的中心孔,后端壁 403 开设有中心孔并在中心孔上向外轴向延伸设有与第二级太阳轮 18 通过花键传动配合的内花键套 404。所述行星轮轴 41 的前后两端分别插配于轮架外壳 40 前、后端壁上对应开设的安装孔并通过卡簧固定,各个第一级行星轮 20 通过轴承转动装配于各对应的行星轮轴 41 上。所述周壁 401 上开设有三个供各个行星轮的远离中心的轮体探出周壁 401 之外的通孔 405。通过该通孔 405 使得各第一级行星轮 20 得以与对应的第一级内齿圈 5 啮合。

6.jpg

  在工作时, 电机通过联轴与减速机输入装置 1 相连,驱动第一级太阳轮 7,太阳轮驱动第一级行星轮 20,带动第一级行星架 3 绕太阳轮轴线转动,从而驱动第二级太阳轮 18,并依次驱动第二、第三级行星轮系传动机构,最后由输出装置 15 输出转矩。各级行星轮系传动机构中的行星轮也可以是四个以上。


  总结:以上就是关于《介绍一下三级以上行星齿轮减速机》的全部内容,希望对大家有所帮助。想了解更多有关差速器、行星减速机齿轮等方面的相关内容,请收藏本站及时关注本站更新。钢凯机械唯一官方网址:www.zjangyi.com
「牙嵌式差速器代理招商加盟」电话:13566677627
(备注:本站部分文章、图片来源于网络,如有侵权请第一时间告知,小编核实后会立刻删除,不接受任何形式的恶意索赔。)
企业分站:北京 天津 河北 山西 内蒙古 辽宁 吉林 黑龙江 上海 江苏 浙江 安徽 福建 江西 山东 河南 湖北 湖南 广东 广西 海南 重庆 四川 贵州 云南 西藏 陕西 甘肃 青海 宁夏 新疆 更多分站
在线客服
联系方式

热线电话

13566677627

上班时间

周一到周五

公司电话

0576-86653735

二维码
线